Category:QFP100-(25x25)-14x14mm
From Citylan
Jump to navigationJump to search
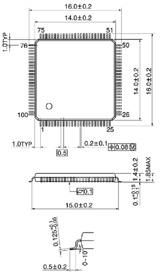
Quad Flat package - 100 pins (25x25) - 14x14 mm
QFP100-(25x25)-14x14mm
Size
External links
Pages in category "QFP100-(25x25)-14x14mm"
The following 10 pages are in this category, out of 10 total.



